发布时间:2025-12-15
![]() |
![]() |
![]() |
|
轴径Shaft Diameter |
轴承型号与近似重量Bearing Designation and mass approx |
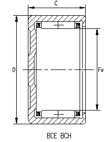
外形尺寸 |
基本额定负荷Basic Load Rating |
极限转速Limiting Speed | ||||
|
Boundary Dimensions | ||||||||
|
穿孔型Open end |
封口型 |
Fw |
D |
C |
动 CrDynamic |
静 CorStatic | ||
|
Closed end |
mm |
N |
rpm | |||||
|
3.175 |
SCE24TN |
BCE24TN |
3.175 |
6.35 |
6.35 |
1070 |
740 |
31500 |
|
3.969 |
SCE2-1/2-4 |
-- |
3.969 |
7.145 |
6.35 |
1260 |
940 |
25000 |
|
SCE-1/2-4TN |
-- |
3.969 |
7.145 |
6.35 |
1230 |
910 |
25000 | |
|
4.762 |
SCE34TN |
BCE34TN |
4.762 |
8.731 |
6.35 |
1790 |
1360 |
21000 |
|
SCE36TN |
BCE36TN |
4.762 |
8.731 |
9.525 |
2750 |
2350 |
21000 | |
|
SCF36 |
-- |
4.762 |
8.731 |
9.53 |
2800 |
2440 |
21000 | |
|
6.35 |
SCE44 |
BCE44 |
6.35 |
11.112 |
6.35 |
1600 |
1200 |
44000 |
|
SCE45 |
BCE45 |
6.35 |
11.112 |
7.938 |
2500 |
2090 |
44000 | |
|
SCE47 |
BCE47 |
6.35 |
11.112 |
11.112 |
4000 |
3850 |
44000 | |
|
7.938 |
SCE55 |
BCE55 |
7.938 |
12.7 |
7.938 |
2900 |
2600 |
35500 |
|
SCE57 |
BCE57 |
7.938 |
12.7 |
11.112 |
4700 |
4850 |
35500 | |
|
SCE59 |
BCE59 |
7.938 |
12.7 |
14.288 |
6000 |
6600 |
35500 | |
|
SCH57 |
BCH57 |
7.938 |
14.288 |
11.112 |
4750 |
4100 |
35500 | |
|
9.525 |
SCE65 |
BCE65 |
9.525 |
14.288 |
7.938 |
2900 |
2700 |
29500 |
|
SCE66 |
BCE66 |
9.525 |
14.288 |
9.525 |
3900 |
3950 |
29500 | |
|
SCE67 |
BCE67 |
9.525 |
14.288 |
11.112 |
4350 |
4600 |
29500 | |
|
SCE68 |
BCE68 |
9.525 |
14.288 |
12.7 |
5800 |
6600 |
29500 | |
|
SCE610 |
BCE610 |
9.525 |
15.875 |
15.875 |
7400 |
9000 |
29500 | |
|
SCH68 |
BCH68 |
9.525 |
15.875 |
12.7 |
7100 |
7100 |
29500 | |
|
11.112 |
SCE78 |
BCE78 |
11.112 |
15.875 |
12.7 |
6400 |
7800 |
25000 |
|
SCE710 |
-- |
11.112 |
17.462 |
15.875 |
8100 |
10700 |
25000 | |
|
SCE78 |
BCH78 |
11.112 |
17.462 |
12.7 |
7900 |
8200 |
25000 | |
|
12.7 |
SCE85 |
BCE85 |
12.7 |
17.462 |
7.938 |
3650 |
3950 |
22000 |
|
SCE86 |
BCE86 |
12.7 |
17.462 |
9.525 |
4600 |
5400 |
22000 | |
|
SCE87 |
BCE87 |
12.7 |
17.462 |
11.112 |
5900 |
7400 |
22000 | |
|
SCE88 |
BCE88 |
12.7 |
17.462 |
12.7 |
6900 |
9000 |
22000 | |
|
SCE810 |
BCE810 |
12.7 |
17.462 |
15.875 |
8800 |
12300 |
22000 | |
|
SCE812 |
BCE812 |
12.7 |
17.462 |
19.05 |
9900 |
14300 |
22000 | |
|
SCH87 |
BCH87 |
12.7 |
19.05 |
11.112 |
7340 |
7800 |
22000 | |
|
SCH88 |
BCH88 |
12.7 |
19.05 |
12.7 |
8500 |
9400 |
22000 | |
|
SCH810 |
BCH810 |
12.7 |
19.05 |
15.875 |
10500 |
12400 |
22000 | |
|
SCH812 |
BCH812 |
12.7 |
19.05 |
19.05 |
12600 |
15700 |
22000 | |
|
14.288 |
SCE95 |
-- |
14.288 |
19.05 |
7.938 |
4000 |
4700 |
19600 |
|
SCE96 |
BCE96 |
14.288 |
19.05 |
9.525 |
5200 |
6400 |
19600 | |
|
SCE97 |
-- |
14.288 |
19.05 |
11.13 |
6600 |
8800 |
19600 | |
|
SCE98 |
BCE98 |
14.288 |
19.05 |
12.7 |
7700 |
10800 |
19600 | |
|
SCE910 |
BCE910 |
14.288 |
19.05 |
15.875 |
9600 |
14000 |
19600 | |
|
SCE912 |
BCE912 |
14.288 |
19.05 |
19.05 |
10700 |
16400 |
19600 | |
|
SCH98 |
BCH98 |
14.288 |
20.638 |
12.7 |
9100 |
10600 |
19600 | |
|
SCH910 |
BCH910 |
14.288 |
20.638 |
15.875 |
12000 |
15000 |
19600 | |
|
SCH912 |
BCH912 |
14.288 |
20.638 |
19.05 |
14400 |
19000 |
19600 | |
|
15.875 |
SCE105 |
BCE105 |
15.875 |
20.638 |
7.938 |
4300 |
5200 |
17600 |
|
SCE107 |
BCE107 |
15.875 |
20.638 |
11.112 |
6600 |
9300 |
17600 | |
|
SCE107-1/2 |
BCE107-1/2 |
15.875 |
20.638 |
11.91 |
7100 |
10300 |
17600 | |
|
SCE108 |
BCE108 |
15.875 |
20.638 |
12.7 |
8100 |
12000 |
17600 | |
|
SCE1010 |
BCE1010 |
15.875 |
20.638 |
15.875 |
10400 |
16300 |
17600 | |
|
SCE1012 |
BCE1012 |
15.875 |
20.638 |
19.05 |
12100 |
19700 |
17600 | |
|
SCH108 |
BCH108 |
15.875 |
22.225 |
12.7 |
10000 |
12200 |
17600 | |
|
SCH1010 |
BCH1010 |
15.875 |
22.225 |
15.875 |
12700 |
16700 |
17600 | |
|
SCH1012 |
BCH1012 |
15.875 |
22.225 |
19.05 |
14700 |
20000 |
17600 | |
|
SCH1016 |
BCH1016 |
15.875 |
22.225 |
25.4 |
19100 |
28000 |
17600 | |
热门文章:
GZD40X132滚柱导轨块是一种精密的直线运动滚动元件,具有较高的承载能力...
5908B汽车轮毂轴承、5908BD汽车轮毂轴承、DAC20420030/29汽车轮毂轴承、DAC205002...
GGB20滑块|GGB20导轨|GGB20天津滑块|GGB20工艺滑块|GGB20进口滑块|GGB20滑块轴承
SHS15C滑块、SHS20C滑块、SHS20CL滑块、SHS25C滑块、SHS25CL滑块、SHS30C滑块、SHS30...
4303轴承|双列深沟球轴承|天津轴承厂