
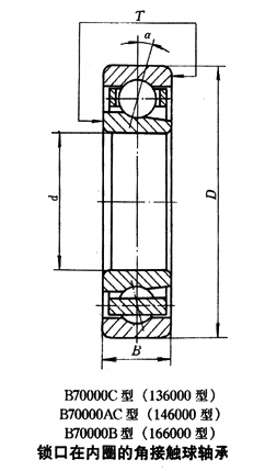
| 新型号 | B7004C |
|---|---|
| 旧型号 | 136104J |
| NSK | |
| NTN | |
| FAG | |
| SKF | |
| 轴承尺寸 | 20×42×12 |
| 重量(KG) | 0.071 |
| 类型 | |
| 详细类型 | 锁口在内圈的角接触球轴承 |
Hot number:IKO K 30×35×13 SKF N 203 E TIMKEN 30207 OKB 29244/30 FBJ 16001-2RS KOYO 3NCHAC021CA NTN-SNR 6305 SNR 7208BA CX CX470 ISO FL619/2 ZZ NTN NJ320E NTN SAR4-22 Nachi 698 SKF HM 3084 GMN S61919CTAP4/ABEC7
Previous:B7003C 角接触球轴承 ---- Next:B7005C 角接触球轴承
Return to 轴承型号查询 发布时间:2026-04-15