
| 新型号 | 51234 |
|---|---|
| 旧型号 | 8234 |
| NSK | 51234X |
| NTN | 51234 |
| FAG | 51234 |
| SKF | 51234 |
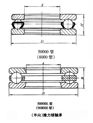
| 轴承尺寸 | 170×240×55 |
| 重量(KG) | 7.1 |
| 类型 | |
| 详细类型 | 单向推力球轴承 |
Hot number:GMN 7214 C/DF NSK 22222 CCK/W33 OKB 46408 NTN 4T-568/563 NACHI 5206ANS KBC 6301DD KOYO 7021B CX CX655 Samick LMEFP16 ISO NA5902 ISB NU 29/1320 FBC W-1/4 SKF BT4-8025 G/HA1VA903 SKF W 603 X-2Z TORRINGTON FAFNIR 6224
Previous:51232M 推力球轴承 ---- Next:51234 推力球轴承
Return to 轴承型号查询 发布时间:2026-05-03